31+ Swisher Trimmer Parts Diagram

B 3000 - Swisher Brushcutter. Webproduct of swisher that has been subject to.


Swisher 60 Fast Finish Trail Mower Owner S Manual Manuals

Our DIY how-to guides and videos to find repair instructions.

. 16 Pics about Poulan TT-85 Gas Trimmer Parts Diagram for CUTTING HEAD DRIVE SHAFT. The homepage to search for a model or part. 1000am-400pm Extended Hours January-April 830am-500pm.

Web Wine Beverage Cooler. Webthere are 44 parts used by this model. S 3000 - Swisher String Trimmer.

Enter your model number in the search box above or just choose from the list below. Is Swisher or its agents responsible for the engine warranty. B 4000 - Swisher Brushcutter.

The Water Filter Finder for. Web Mark Johnson. Web 1-16 of 484 results for swisher trimmer parts RESULTS New Part Control Cable Compatible with Swisher 2034B High Wheel Trimmer ST6002212V Engine Zone All.

Web Visit these pages to find what you need. Complete exploded views of all the major manufacturers. Web Parts lookup for Swisher power equipment is simpler than ever.

Web Swisher Exploded View parts lookup by model. Web A diagram is provided just above the wheel for proper installation. Web Poulan TT-85 Gas Trimmer Parts Diagram for CUTTING HEAD DRIVE SHAFT.

Web Repair Parts 19133 REV 14-335 TSC SKU 1039311 Vendor ST67522BS-TSC Starting Serial Number. 239 West 400 North Lindon UT. Kenmore Wine Beverage Cooler Parts Magic Chef Wine Beverage Cooler Parts.

Parts Diagrams Shop More Equipment.


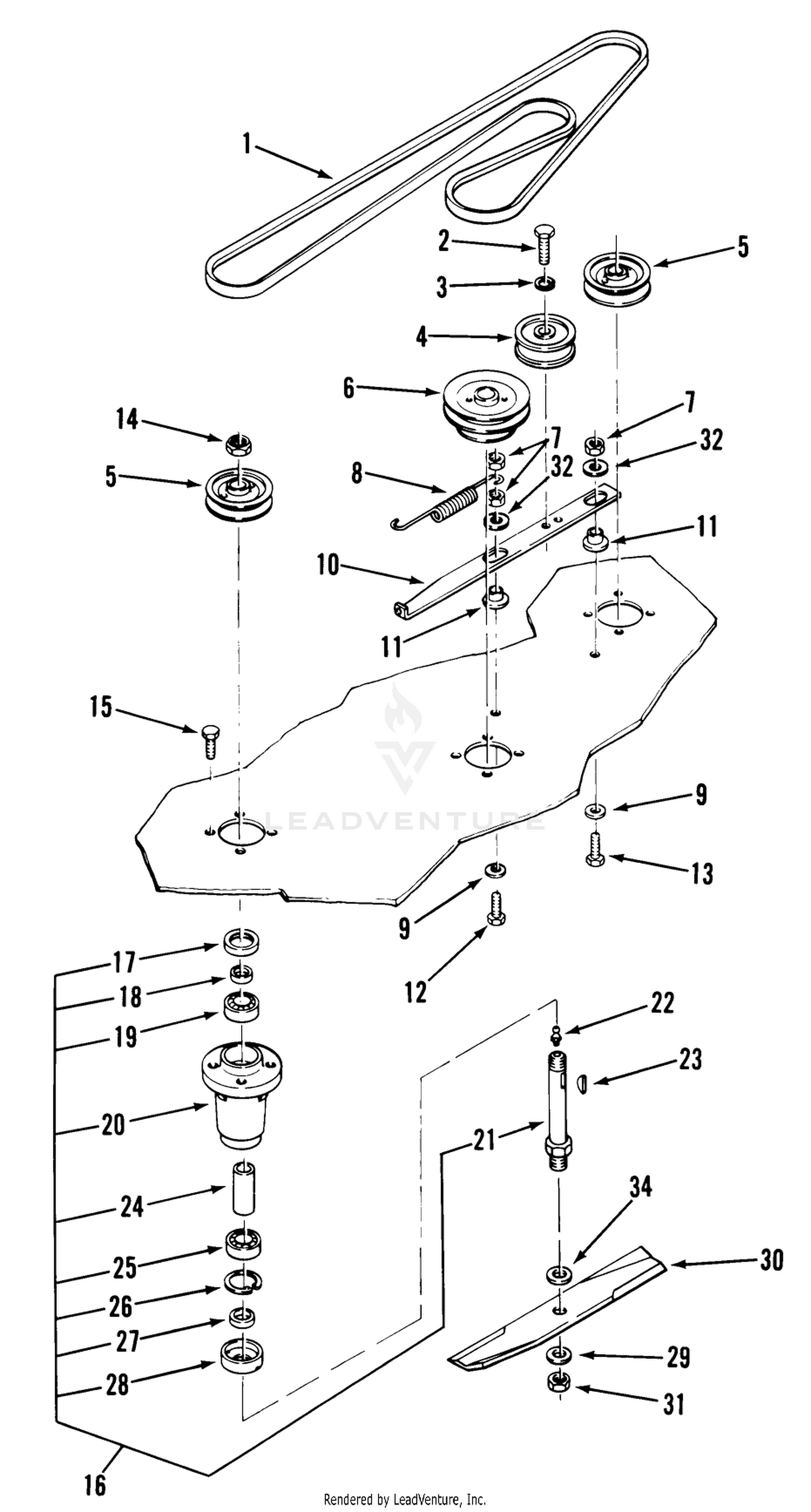
Swisher St67522bs Tsc Serial L112 291001 L213 059235 Parts Diagram For Trim N Mow Assembly


Swisher Lawnmower Parts For Sale Ebay


Swisher String Trimmer Engine Driven Walk Behind


Swisher Rough Cut Pull Behind Mower 344cc Briggs Stratton Powerbuilt Engine 44in Deck Model Rc11544bs


Swisher String Trimmer Parts At Lowes Com


Bad Boy Mower Parts Lookup 2021 Zt Elite Engine Kohler Kt740 Kt745


Zt Hd Zero Turn Lawn Mower Gravely


Webb 24 Drive Belt Pack Of 2 Garden Hire Spares


Swisher St67522e Tsc Serial L215 334001 Parts Diagram For Trim N Mow Assembly


Trim N Mow Parts List Swisher St67522bs Owner S Manual Page 10 Manualslib


Swisher St67522bs Tsc Serial L112 291001 L213 059235 Parts Diagram For Trimmer Head Assembly For Trim Max


Dr Pilot Walk Behind Wheeled String Trimmer Dr Power Equipment


John Deere Mower Deck Rear Discharge 62 Inch Mower Deck W Labels 62rd Inch For Canada And Usa


Swisher 44 Finish Cut Trail Mower Bass Pro Shops


Toro A1 114201 Gt 1142 8 Speed Tractor 1982 42 48 In 107 122 Cm Mower Spindles


Swisher 10 1 2 Hp 44 In Finish Cut Trail Mower Carb Compliant Fc10544bs At Tractor Supply Co


Z997r Owner Information Parts Service John Deere Us

Iklan Atas Artikel

Iklan Tengah Artikel 1

Iklan Tengah Artikel 2

Iklan Bawah Artikel